انواع سیستمهای سوخت رسانی (باتوجه به محل قرارگیری پمپ بنزین)
محل قرارگیری پمپ بنزین در داخل باک و یا خارج از آن می باشد.
فیلتر بنزین (Fuel Filter)
محل قرارگیری فیلتر سوخت بعد از پمپ بنزین و قبل از ریل سوخت می باشد.
در خودروهای پژو 405 ، سمند، پژو پارس، پیکان با ECUی مدل S2000 و پژو RD زیر اتاق خودرو و نزدیک به باک، در پیکان با ECUی مدل SL96 جای بوستر قدیم و زیر جعبه فیوز و در خودروی 206 درزیر اتاق، سمت شاگرد سرنشین عقب نصب شده است.
ریل سوخت رسانی (Fuel Rail)
محل قرارگیری ریل سوخت در بالای موتور و برروی قسمت قوسی شکل منیفولد هوای ورودی و در نزدیکی سرسیلندر می باشد. ریل سوخت با استفاده از پیچ برروی منیفولد هوای ورودی نصب گردیده است.
رگلاتور فشار سوخت (Fuel Pressure Regulator)
محل قرارگیری رگلاتور فشار سوخت در انتهای ریل سوخت رسانی می باشد.
در خودروی 206 رگلاتور در روی مجموعه ی پمپ بنزین نصب گردیده است.
رگلاتور فشار سوخت ، فشار سوخت را در ریل سوخت طوری تنظیم میکند که نسبت بین فشار جلو و پشت انژکتور همیشه ثابت باشد یا به عبارت دیگر اگر مکش در مانیفولد هوا زیاد شود فشار داخل ریل سوخت را به همان نسبت کاهش می دهد تا فشار نسبی ثابت بماند.
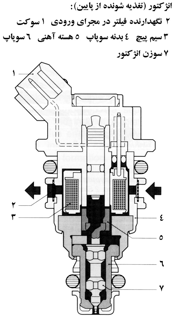
انژکتورها (Injectors)
این قطعه دارای یک سوکت دو پایه می باشد.
پایه 2: ولتاژ مثبت 12 ولت از رله دوبل
پایه 1: اتصال بدنه (منفی) از طریق ECU
محل قرارگیری انژکتور برروی ریل سوخت رسانی می باشد.
انواع الگوهای پاشش سوخت انژکتورها
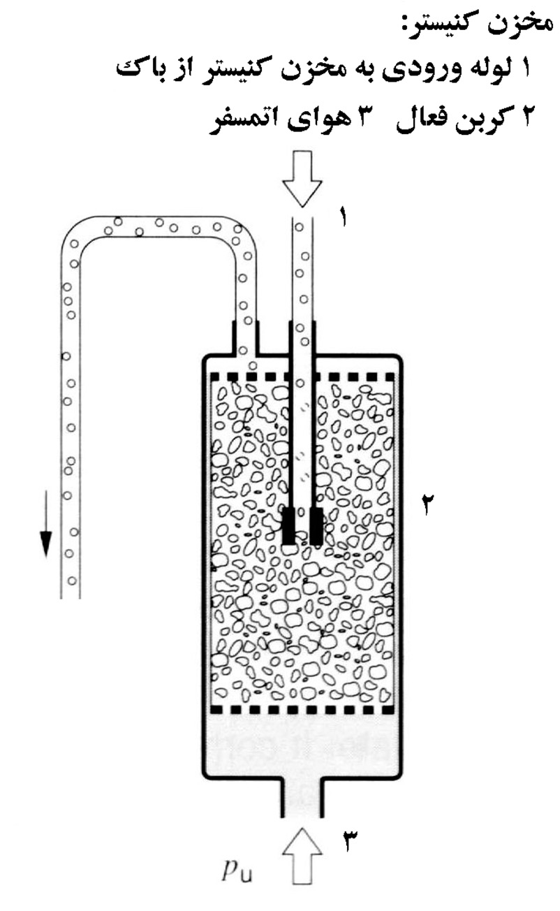
مخزن کنیستر (Carbon Canister Reservoir)
محل قرارگیری این قطعه در اکثر خودروها در زیر گلگیرجلوی سمت راننده می باشد.
در خودروی پژو 206 محل نصب آن زیر گلگیرجلوی سمت شاگرد می باشد.
شیر برقی کنیستر (Canister Purge Valve)
این قطعه دارای یک سوکت دوپایه می باشد.
پایه 1: ولتاژ مثبت 12 ولت از رله دوبل
پایه 2: اتصال بدنه (منفی) از طریق ECU
محل قرارگیری این قطعه در نزدیکی محل مخزن کنیستر می باشد.














